回收溴化锂制冷机,回收双良溴化锂
 
单效溴化锂吸收式制… 2026-4-28
溴化锂直燃机日常运… 2026-4-17
溴化锂溶液循环量对… 2026-4-8
溴化锂机组的防腐缓… 2026-3-30
如何通过浓度优化溴… 2026-3-20
溴化锂浓度与溶液循… 2026-3-12
 
如果您有什要求或建议,将详细内容填入表
格,我们的客服会尽快
回复给您,帮您解决疑
难问题,谢谢您对我们
长久的支持!
 
如果您有任何意见和建议可致信我们的邮箱
我们将及时回复您的邮件,
同时谢谢您对我们的支持!
【点此进入邮箱】
 
 
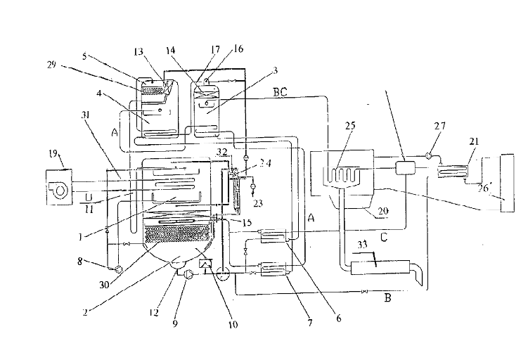
溴化俚吸收式双效汽车余热制冷机图例说明
发布者:韩工  发布时间:2015-09-09 12:16:07  点击:2980
图1给出本实用新型的结构示意图。
图2给出本实用新型的释放风罩结构示意图。



具体实施方式
    以下按照图1、图2给出实施例:一种溴化锂吸收式双效汽车余热制冷机,包括蒸发器1、吸收器2、高压发生器3、低压发生器4、冷凝器5、高温换热器6、低温换热器7、制冷泵8、溶液泵9、引射器10及减压降温的U型液封管11。由溶液泵9从吸收器液囊12抽取稀溶液加压后,分A、B、C三条管路流出:




    稀溶液在进入引射器后,在溶液泵9压作用下引射器10入口腔内形成负压。利用这一负压区将机组吸收器1内的不凝性气体抽出,与稀溶液一起流向气液分离室分离:从而维持了机组内较高的真空度,使制冷机组高效地工作。
    按照上述制作即可构成本实用新型——一种溴化锂吸收式双效汽车余热制冷机。


上一页:冷剂水管路上带有过滤装置的溴化锂吸收式制冷机简介
下一页:在溴化锂吸收式制冷机中加入添加剂方法的附图说明
    
版权所有: 无锡中央空调回收网-专业从事:回收溴化锂制冷机,回收双良溴化锂 Tel:0510-88725458 fax:0510-88725458
E-mail:sales@wxzykd.com 溴化锂中央空调,二手溴化锂冷水机组,回收大连三洋溴化锂,溴化锂冷水机组,回收溴化锂中央空调